Adam Zaborski - ceowniki o pocienionych środnikach Ceowniki o

Transkrypt

Adam Zaborski - ceowniki o pocienionych środnikach Ceowniki o
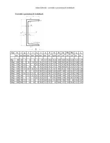
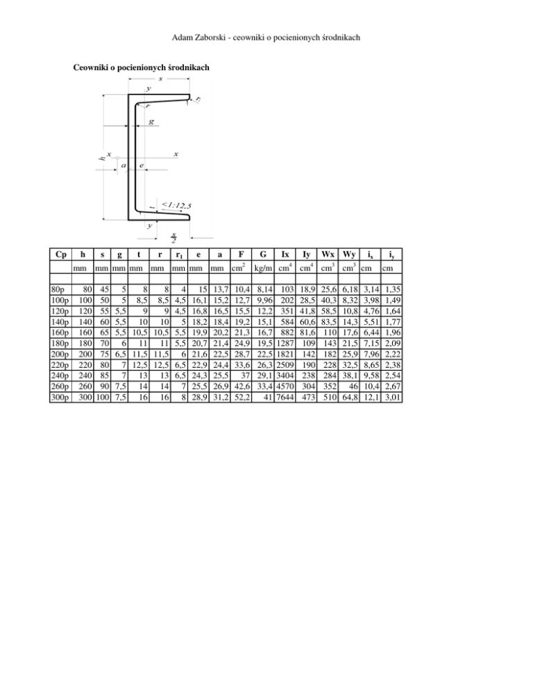
Adam Zaborski - ceowniki o pocienionych rodnikach
Ceowniki o pocienionych rodnikach
Cp
h
s
g
t
r
r1
e
a
F
2
mm mm mm mm mm mm mm mm cm
80p
100p
120p
140p
160p
180p
200p
220p
240p
260p
300p
80
100
120
140
160
180
200
220
240
260
300
45
50
55
60
65
70
75
80
85
90
100
5
8
8 4 15 13,7 10,4
5 8,5 8,5 4,5 16,1 15,2 12,7
5,5
9
9 4,5 16,8 16,5 15,5
5,5 10 10 5 18,2 18,4 19,2
5,5 10,5 10,5 5,5 19,9 20,2 21,3
6 11 11 5,5 20,7 21,4 24,9
6,5 11,5 11,5 6 21,6 22,5 28,7
7 12,5 12,5 6,5 22,9 24,4 33,6
7 13 13 6,5 24,3 25,5 37
7,5 14 14 7 25,5 26,9 42,6
7,5 16 16 8 28,9 31,2 52,2
G
Ix
4
kg/m cm
8,14
9,96
12,2
15,1
16,7
19,5
22,5
26,3
29,1
33,4
41
103
202
351
584
882
1287
1821
2509
3404
4570
7644
Iy
4
Wx Wy
3
ix
iy
cm
3
cm
cm
cm cm
18,9
28,5
41,8
60,6
81,6
109
142
190
238
304
473
25,6
40,3
58,5
83,5
110
143
182
228
284
352
510
6,18
8,32
10,8
14,3
17,6
21,5
25,9
32,5
38,1
46
64,8
3,14
3,98
4,76
5,51
6,44
7,15
7,96
8,65
9,58
10,4
12,1
1,35
1,49
1,64
1,77
1,96
2,09
2,22
2,38
2,54
2,67
3,01