RODIACUT 202 DWS

Transkrypt

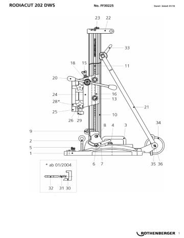
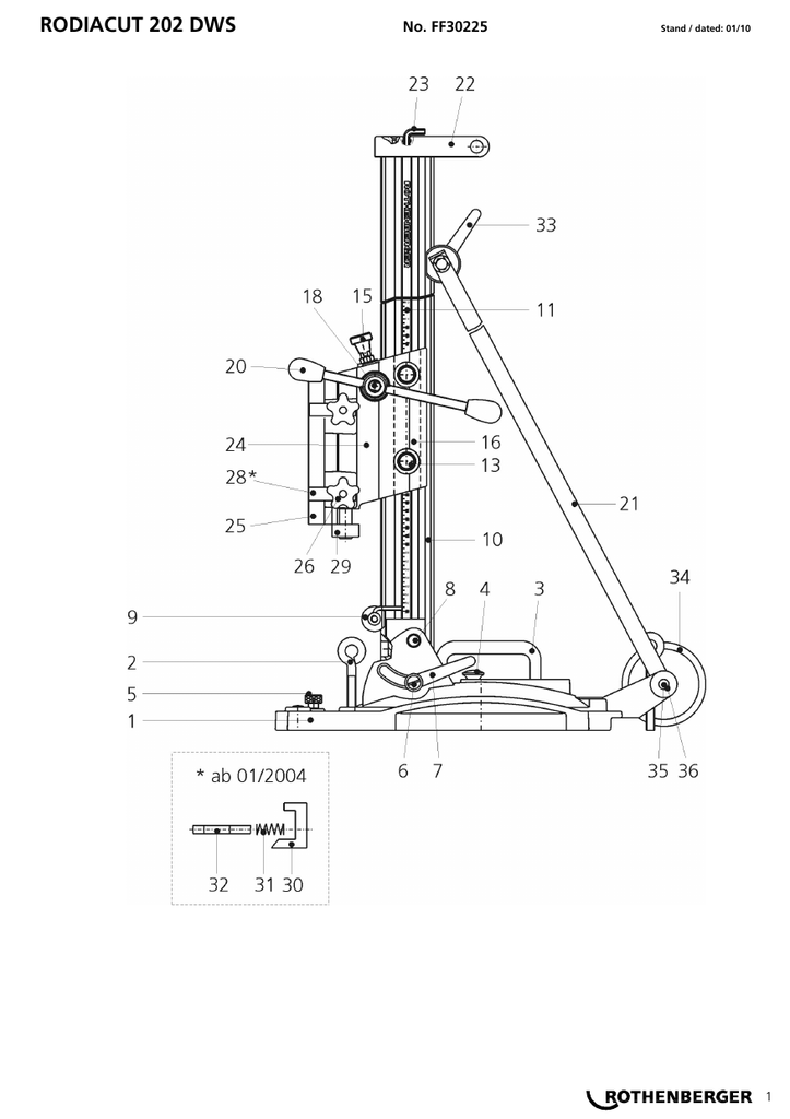
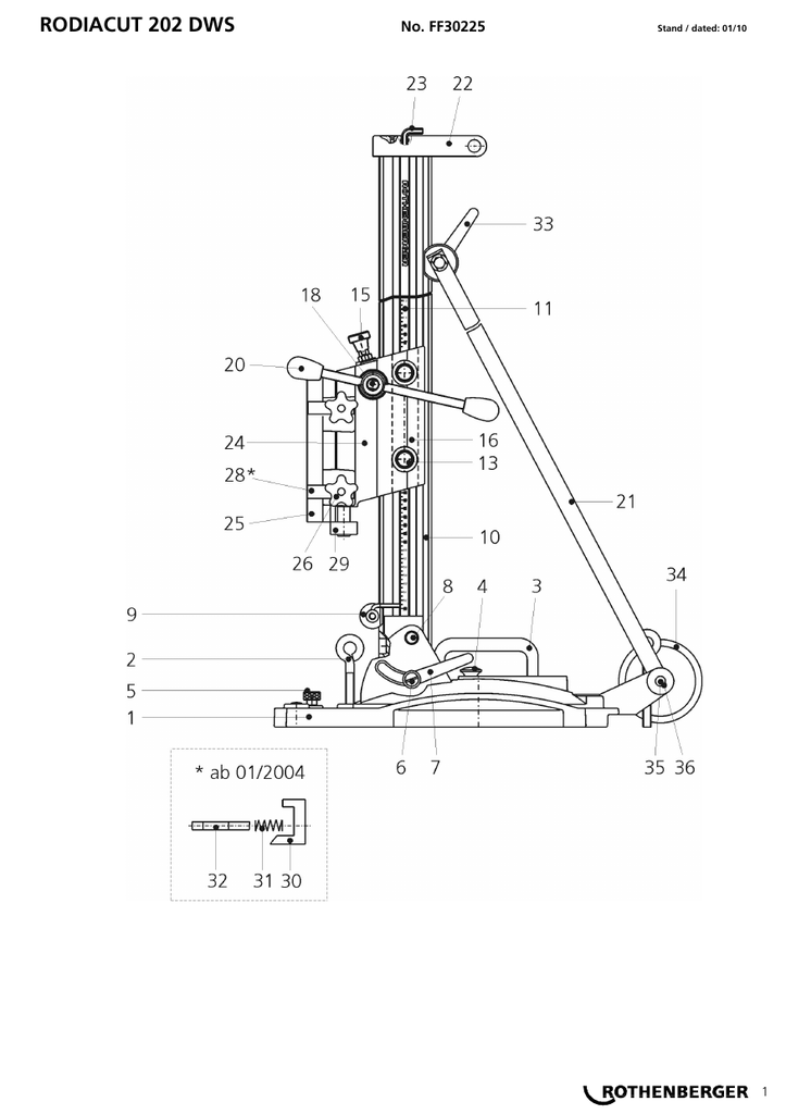
RODIACUT 202 DWS
RODIACUT 202 DWS
No. FF30225
Stand / dated: 01/10
1
RODIACUT 202 DWS
Nr. / No.
1
2
3
4
5
6
7
8
9
10
11
13
15
16
18
20
21
22
23
24
25
26
28
29
30
31
32
33
34
35
36
WICHTIG!
No. FF30225
Stand / dated: 01/10
Bezeichnung
Bodenplatte
Ösenschraube M10
Bügelgriff mit 2 Schrauben M6x30
Entlüftungsventil kpl. (Bodenplatte)
Bohrloch-Mittenanzeiger kpl.
Stellschraube
Kipp-Klemmhebel M10
Achse für Säule kpl. Mit Mutter
Tiefenanschlag kpl.
Profil-Säule inkl. Libelle
Maßlineal
Justierset für Führungsleisten
Arretierbolzen für Ritzelwelle
Führungsleiste (Paar) inkl. Buchsen
Ritzelwelle mit 2 Lagerbuchsen
Description
Ground plate
Adjustment screw M10
Handle with 2 screws M6x30
Ventilation valve compl. (ground plate)
Center hole indicator compl.
Set screw
Clamping lever M10
Axle compl. with nut for column
Depth stop compl.
Column incl. spirit-level
Drilling depth indicator
Adjustment set for guides
Lock bolt for pinion shaft
Guide (pair) incl. bushings
Pinion shaft with 2 bushings
Menge /QTY.
1
4
1
1
1
1
1
1
1
1
1
1
1
1
1
Art.-Nr / No.
H8.2821P
FF50803
F8.2930
F8.2931
H8.2802
F8.5114
H8.7997
F8.2932
F8.5109
F8.5159
F8.5310
F8.2936
F8.5141
F8.2935
F8.2937
Vorschubhebel kpl.
Abstützung kpl. Mit Rollen
Tragegriff inkl. 4 Schrauben M4x25
Inbusschlüssel 6 DIN 911
Vorschubeinheit (Gussteil) inkl. Libellen
Schwalbenschwanzplatte
Sterngriff
Klemmstück (bis 12/2003)
Anschlag D= 32mm (bis 12/2003)
Anschlag D= 40mm (ab 01/2004)
Klemmstück (ab 01/2004)
Druckfeder (ab 01/2004)
Stiftschraube M8x35 (ab 01/2004)
Kipp- Klemmhebel
Transportrad D= 100mm
Achse
Sicherungsscheibe 9 DIN 6799
Feed lever cpl.
Support compl. With pulley
Carrying handle incl. 4 screws M4x25
Wrench 6 DIN 911
Guiding device (casting) incl. spirit-level
Mounting plate
Star knob
Clamping piece (until 12/2003)
Stop D= 32mm (until 12/2003)
Stop D= 40mm (since 01/2004)
Clamping piece (since 01/2004)
Spring (since 01/2004)
Stud bolt M8x35 (since 01/2004)
Clamping lever
Wheel D= 100mm
Axis
Lock washer 9 DIN 6799
1
1
1
1
1
1
2
2
1
1
2
2
2
1
2
1
2
FF50863
H8.2827
F8.2939
32.1216
FF57046
FF35000
FF57049
FF57047
FF57048
H8.1301
FF54048
FF54046
FF54043
FF54047
H8.2809
H8.2803
H8.2810
Um die Sicherheit und Zuverlässigkeit des Produktes zu erhalten, dürfen Reparaturen, Überholungs- und Einstellarbeiten nur von
ROTHENBERGER, Kelkheim oder autorisierten Service-Werkstätten ausgeführt werden. Verwenden Sie nur Original-Ersatzteile.
Bestellen Sie Ihre Zubehör und Ersatzteile bei Ihrem Fachhändler oder bei unserer Hotline Service After Sales
Tel. +49 6195 99 52 14
Fax: +49 6195 99 52 15
IMPORTANT! To assure safety and reliability, repairs, maintenance and adjustment must be performed by ROTHENBERGER Kelkheim, or authorized
Service-Centers. Always use Original-Service-Parts.
Order your accessories and spare parts from your specialist retailer or using our Service After Sales hotline
Tel. +49 6195 99 52 14
2
Fax: +49 6195 99 52 15