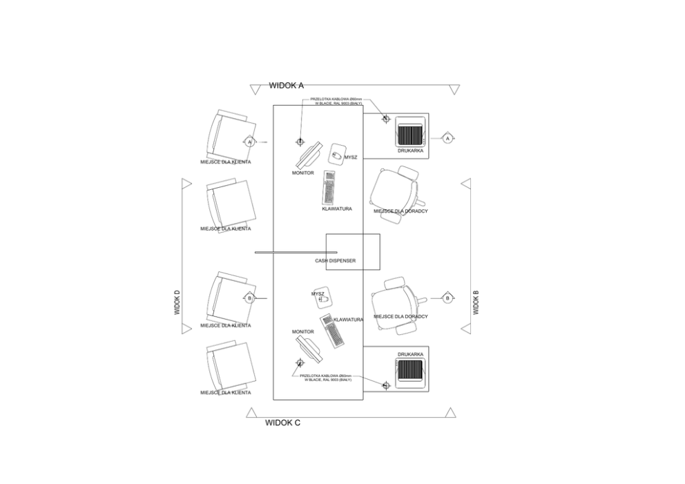
widok a widok c

Transkrypt

widok a widok c
WIDOK A
PRZELOTKA KABLOWA Ø60mm
W BLACIE, RAL 9003 (BIAŁY)
A
A
DRUKARKA
MYSZ
MIEJSCE DLA KLIENTA
MONITOR
KLAWIATURA
MIEJSCE DLA DORADCY
MIEJSCE DLA KLIENTA
MYSZ
B
B
KLAWIATURA
MIEJSCE DLA DORADCY
MIEJSCE DLA KLIENTA
MONITOR
DRUKARKA
PRZELOTKA KABLOWA Ø60mm
W BLACIE, RAL 9003 (BIAŁY)
MIEJSCE DLA KLIENTA
WIDOK C
WIDOK B
WIDOK D
CASH DISPENSER
WIDOK A
WIDOK C
WIDOK B
WIDOK D
JEDNOSTKA KOMPUTEROWA
A
PRZELOTKA KABLOWA Ø60mm
W BLACIE, RAL 9003 (BIAŁY)
A
A
A
B
B
B
PRZELOTKA KABLOWA Ø60mm
W BLACIE, RAL 9003 (BIAŁY)
B
PRZELOTKA KABLOWA Ø60mm
W BLACIE, RAL 9003 (BIAŁY)
PRZELOTKA KABLOWA Ø60mm
W BLACIE, RAL 9003 (BIAŁY)
C-C
JEDNOSTKA KOMPUTEROWA
D-D
PRZELOTKA KABLOWA Ø60mm
MALOWANA PROSZKOWO RAL 9003
C
C
D
D
A-A
SZKŁO BEZPIECZNE, TRAWIONE DWUSTRONNIE
ZAOBLONE KRAWĘDZIE
ZAMEK NA KLUCZ
KLUCZ ŁAMANY
ZAMEK BASKWILOWY
NA WSZYSTKIE SZUFLADY
KLUCZ ŁAMANY
C
C
D
D
ZESTAW GNIAZD
B-B