Badanie rozgałęzionego obwodu magnetycznego

Transkrypt

Badanie rozgałęzionego obwodu magnetycznego
ZAKŁAD PODSTAW ELEKTROTECHNIKI
ĆWICZENIE Nr
19
Badanie rozgałęzionego obwodu magnetycznego
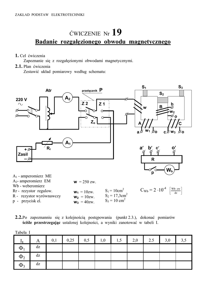
1. Cel ćwiczenia
Zapoznanie się z rozgałęzionymi obwodami magnetycznymi.
2.1. Plan ćwiczenia
Zestawić układ pomiarowy według schematu:
Atr
przełącznik
P
Z2
Z1
S3
S1
S2
A2
220 V
Zo
w2
o
A
a
A1
C
w1
o
w3
c
_
o
o′
a′ b′ c′
Rr
+
Zasil
b
B
w
R
A1 - amperomierz ME
A2- amperomierz EM
Wb - weberomierz
Rr - rezystor regulow.
R - rezystor wyrównawczy
p - przycisk el.
Wb
p
w = 250 zw.
w1 = 10zw.
w2 = 10zw.
w3 = 40zw.
CWb = 2 ⋅10-4
S1 = 10cm2
S2 = 17,3cm2
S3 = 10 cm2
⎡ Wb ⋅ zw ⎤
⎢
⎥
⎣ dz ⎦
2.2.Po zapoznanniu się z kolejnością postępowania (punkt 2.3.), dokonać pomiarów
ściśle przestrzegając ustalonej kolejności, a wyniki zanotować w tabeli I.
Tabela I
I1
A
Φ1
Φ2
dz
Φ3
dz
dz
0,1
0,25
0,5
1,0
1,5
2,0
2.5
3,0
3,5
2.3.Postępowanie przy pomiarach
a - załączyć do uzwojenia wzbudzenia (w) źródło napięcia stałego przyciskiem P ( pozycja Z1
),
a następnie nastawić zadaną wartość prądu I1.
b - odłączyć źródło napięcia stałego ( P w pozycji Zo)
c - załączyć przyciskiem P (pozycja Z2 ) źródło napięcia zmiennego do uzwojenia wzbudzenia.
Autotransformatorem zwiększać równomiernie, wolno napięcie tak aby prąd I2 rósł od zera
do wartości ok. 5 A, a następnie zmniejszać prąd do zera /rozmagnesowanie/.
d - wyłączyć źródło napięcia zmiennego przełącznikiem P ( pozycja Zo)
e - przyciskając przycisk p weberomierza, ustawić wskazówkę na zero pokrętłem na mierniku.
f - nie zwalniając przycisku p weberomierza załączyć źródło napięcia stałego P (pozycja Z1 )
(magnesowanie). Odcztać i zapisać w tabeli I maksymalną wartość wychylenia wskazówki
weberomierza. Sprawdzić czy wartość prądu wzbudzenia I1 nie uległa zmianie.
Według określonych wyżej zasad przeprowadzić pomiary również dla kolumn B i C.
UWAGA:
Nie załączać przycisku weberomierza ( p ), gdy załączone jest źródło napięcia zmiennego
P ( pozycja Z2) .
Tabela obliczeń
Lp
Θ
Φ1
Φ2
Φ3
B1
B2
B3
H1
H2
H3
-
A
mWb
mWb
mWb
T
T
T
A/m
A/m
A/m
1
⇓
9
Θ
przepływ
strumień
= I⋅w
indukcja Bn / T / =
Φn /mWb / = Φn /dz/
C wb
103
wn
Hn
Φn
sn
-- określić z krzywej magnesowania.
3. Opracowanie
3.1.Wykonać obliczenia do tabeli I
3.2.Wykreślić charakterystykę magnesowania B= f / H / według podanej tabeli.
3.3.Wykreślić charakterystykę Φ1, Φ2 , Φ3 = f / H / na wspólnym wykresie
3.4.Określić reluktancje kolumn A /1/, B /2/ i C /3/ dla
Θ
= 500 A, wykorzystując prawa
Kirchhoffa dla obwodu magnetycznego.
Θ=
4.Wnioski
m
∑ Rm ⋅ Φm
1
i dyskusja otrzymanych wyników.
Tabela do wykreślania krzywej magnesowania.
Badany obwód magnetyczny wykonany jest z blach o grubości 0,5 mm. o zawartości 1% Si i stratności 3W/kG.
Charakterystyka dla tych blach podana jest w tabeli :
B
H
T
A/m
0,1
70
0,2 0,3 0,4 0,5 0,6 0,7 0,8 0,9 1.0 1,05 1,10 1,15 1,20 1,25 1,30 1,35 1,40 1,45 1,50
100 110 120 140 150 180 200 240 300 340 400 460 530 640 780 960 1200 1540 2000