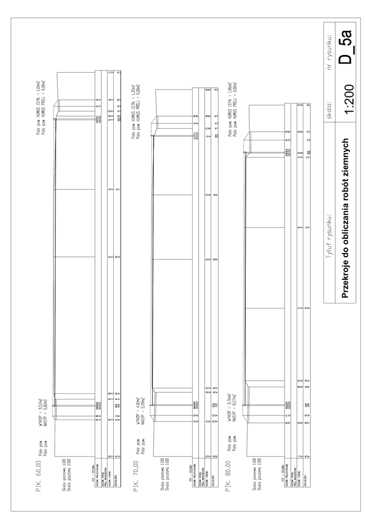
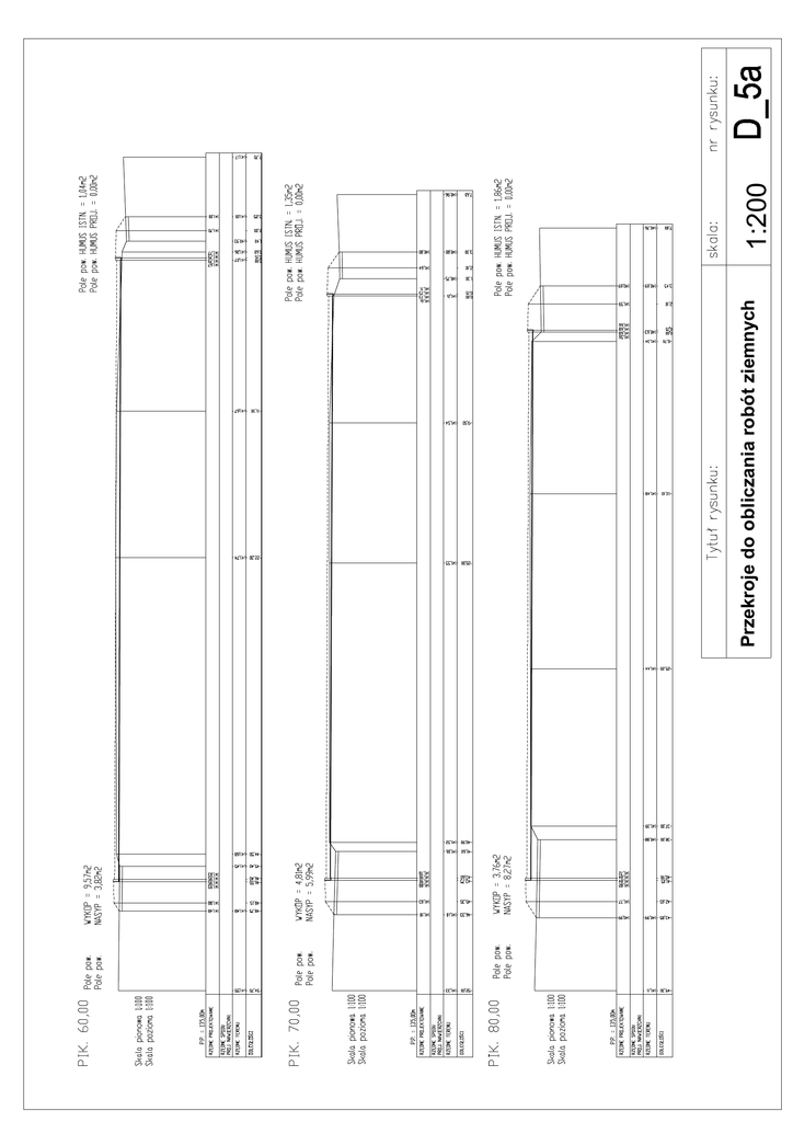
P rze kro je d o o b lic za n ia ro b ó t ziem n ych

Transkrypt

P rze kro je d o o b lic za n ia ro b ó t ziem n ych
Przekroje do obliczania robót ziemnych
1:200