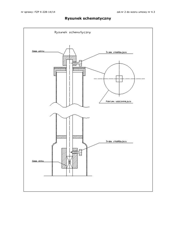
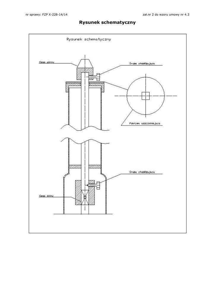
Rysunek schematyczny

Transkrypt

Rysunek schematyczny
nr sprawy: FZP X-228-14/14
zał.nr 2 do wzoru umowy nr 4.3
Rysunek schematyczny