INSTRUKCJA DO CWICZENIA

Transkrypt

INSTRUKCJA DO CWICZENIA
INSTRUKCJA DO CWICZENIA
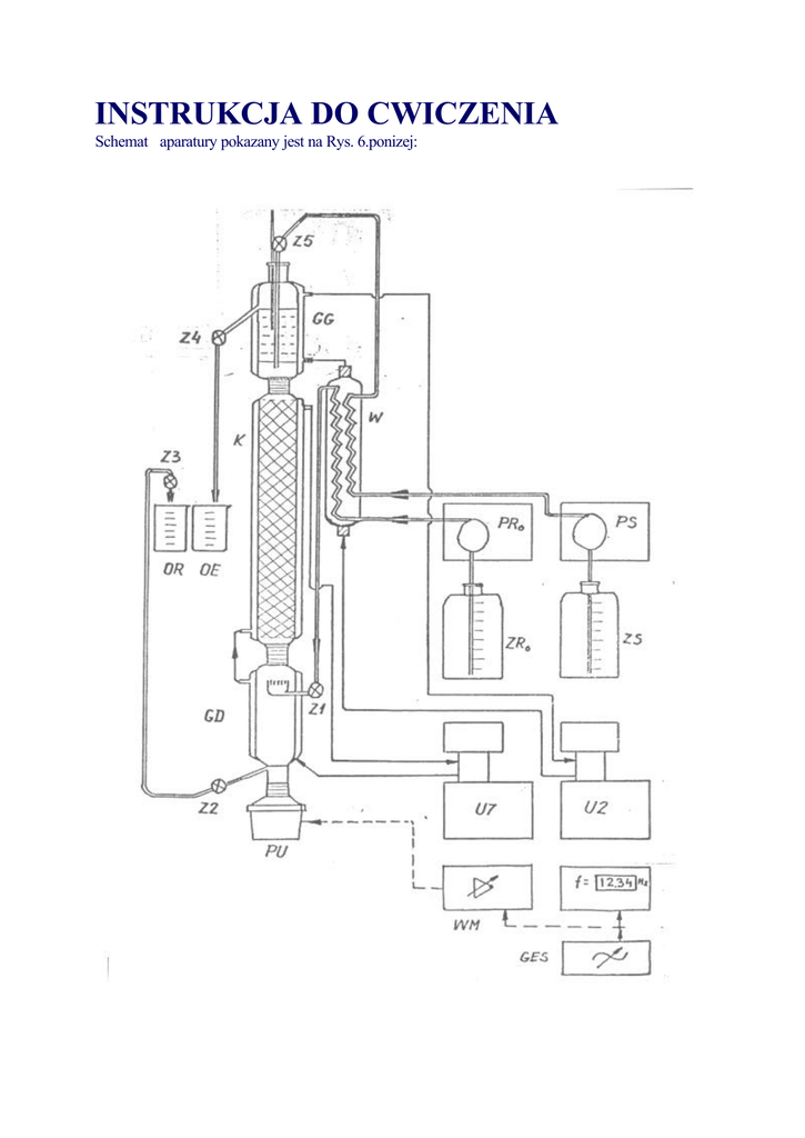
Schemat aparatury pokazany jest na Rys. 6.ponizej:
Na elektrodynamicznym pulsatorze (PU) osadzone sa kolejno: glowica dolna (GD), kolumna
z wypelnieniem (K) i glowica górna (GG).
Uklad zasilania pulsatora sklada sie z generatora przebiegów sinusoidalnych (GES) z
wska¼nikiem czestosci oraz wzmacniacz mocy (WM) do zmiany amplitudy pulsacji.
Z glowicy dolnej odprowadza sie syfonem ciecz ciezsza - najczesciej rafinat - do odbieralnika
(OR). Do górnej czesci tej glowicy, przewodem zakoñczonym plytka perforowana jest
odprowadzana ciecz lzejsza, najczesciej ekstrahent, podawana pompa (PRo) ze zbiornika
(ZRo) przez wymiennik ciepla (W).
Kolumna z wypelnieniem ma nastepujace parametry stale:
-srednica wewnetrzna kolumny D=4 cm
-wypelnienie - szklane pierscienie Raschiga
- wysokosc warstwy wypelnienia 40 cm
- ulamkowa objetosc wolna zloza 0.8
W glowicy górnej nastepuje koalescencja kropel fazy rozproszonej i tworzy sie warstwa
ekstraktu odplywajacego przelewem do odbieralnika (OE). Do dolnej czesci tej glowicy,
ponizej granicy rozdzialu faz, jest doprowadzana ciecz ciezsza, podawana pompa (PS) ze
zbiornika (ZS) przez wymiennik (W).
Kolumna i obie glowice maja plaszcze wodne zasilane z ultratermostatu U7 i U2.
2. Wykonanie cwiczenia.
Odczynniki: przemyslowy przesacz pokrystalizacyjny bedacy roztworem wodnym,
zwierajacym kwas cytrynowy, mieszanina ta stanowi surówke; cykloheksanon jako
ekstrahent, 0.1M NaOH i fenoloftaleina do analizy zawartosci kwasu cytrynowego.
Etapy wykonywania cwiczenia:
1. Przygotowanie aparatury do pracy:
- nastawic temp. i wlaczyc ultratermostaty U7 i U2
- napelnic kolumne surówka do poziomu wylotu przewodu zasilajacego w glowicy górnej;
podczas napelniania odpowietrzac zloze poprzez pulsacje
-napelnic kolumne ekstrahentem do przelewu w glowicy
- odnotowac w protokole objetosci uzyte do wypelnienia kolumny (wsad poczatkowy)
2. Ekstrakcja
- nastawic pompy PS i PRo na wlasciwe szybkosci i wlaczyc je
- zapisac czas poczatku ekstrakcji
- otworzyc zawór Z3 i tak ustawic ten zawór, aby granica rozdzialu faz utrzymywala sie na
poziomie kreski na glowicy
- kazda odebrana próbke ekstraktu i rafinatu zwazyc i odnotowac w protokole czas odbioru i
mase
- uzupelniac surówke i ekstrahent odnotowujac zawsze dodawane objetosci i masy (surówki) i
czas ich dodawania
- po 40 min. od czasu rozpoczecia ekstrakcji rozpoczac pomiary wspólczynnika zalamania
swiatla ekstraktu w odstepach 10 min. az do ustalenia sie tego wspólczynnika na stalym
poziomie
-po ustaleniu sie stanu stacjonarnego wylaczyc pompy, zapisac czas koñca ekstrakcji i
pozostale w zbiornikach objetosci i masy surówki i ekstrahenta
3. Czynnosci koñcowe
- zamknac zawór Z2, rozlaczyc szlif kulisty syfonu i opróznic kolumne, wyznaczyc mase
spuszczonych cieczy i odnotowac w protokole
- przeplukac kolumne woda
-wylaczyc wszystkie urzadzenia
4. Oznaczenie kwasu cytrynowego
Procentowa zawartosc kwasu cytrynowego oznaczana jest w surówce, ekstrakcie i rafinacie
ze stanu stacjonarnego. Oznaczenie wykonuje sie przez miareczkowanie próbki mianowanym
roztworem NaOH wobec fenoloftaleiny. Nawazki (2) okolo 0.5g surówki oraz okolo 0.7g (2)
rafinatu rozcieñcza sie 100 cm3 wody destylowanej, nawazki (2) okolo 1.5g ekstraktu
rozcieñcza sie 100cm3 mieszaniny 1:1 woda-etanol. Wynik oblicza sie z równania:
gdzie: X- zawarto¶c procentowa kwasu cytrynowego w próbce
V - objeto¶c w cm3 zuzytego do miareczkowania NaOH
m - odwazka w g
C m - miano NaOH
5. Opracowanie wyników
- zestawic bilans calkowity materialowy dla calego procesu; obliczyc straty (%)
- zestawic bilans strumieniowy procesu; obliczyc straty (%)
- zestawic bilans czastkowy kwasu cytrynowego; obliczyc straty (%)
- obliczyc stopieñ wyekstrahowania i wspólczynnik ekstrakcji
- obliczyc liczbe teoretycznych stopni kontaktu
- obliczyc wysokosc H wypelnienia równowazna jednemu stopniowi ekstrakcyjnemu dla
badanej kolumny
- obliczyc zuzycie ekstrahenta (kg) potrzebnego do wyekstrahowania 1 kg kwasu
cytrynowego
-wykonac wykres Sankeye'a dla bilansu strumieniowego
- zinterpretowac wyniki
-sformulowac wnioski