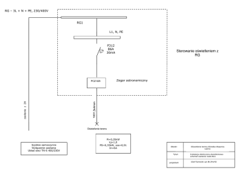
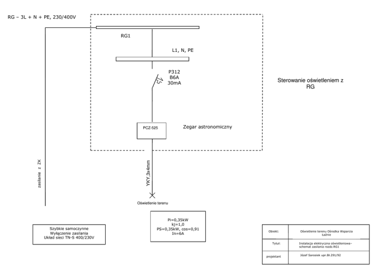
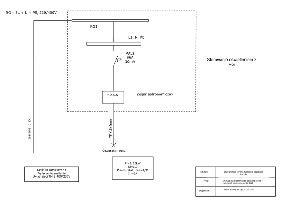
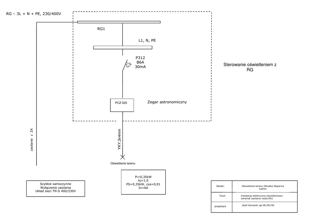
Sterowanie oświetleniem z RG

Transkrypt

Sterowanie oświetleniem z RG
RG – 3L + N + PE, 230/400V
RG1
L1, N, PE
P312
B6A
30mA
Zegar astronomiczny
YKY,3x4mm
zasilanie z ZK
PCZ-525
Sterowanie oświetleniem z
RG
Oświetlenie terenu
Szybkie samoczynne
Wyłączenie zasilania
Układ sieci TN-S 400/230V
Pi=0,35kW
kj=1,0
PS=0,35kW, cos=0,91
In=6A
Obiekt:
Tytuł:
projektant
Oświetlenie terenu Ośrodka Wsparcia
Łaźnie
Instalacja elektryczna oświetleniowa–
schemat zasilania rozdz.RG1
Józef Sarosiek upr.Bł.291/92